
Toyota từ lâu đã là một trong những hãng ủng hộ mạnh mẽ năng lượng hydro - coi đây là giải pháp xanh thay thế cho xe điện. Mới đây, một bằng sáng chế của hãng bất ngờ cho thấy ý tưởng về một chiếc xe máy sử dụng nhiên liệu hydro - Ảnh: AMCN
Hãng ô tô lớn nhất thế giới Toyota vừa gây chú ý khi nộp bằng sáng chế liên quan đến một mẫu xe máy sử dụng nhiên liệu hydro - một hướng đi hiếm thấy trong làng xe hai bánh.
Điều này không có nghĩa nhà sản xuất ô tô lớn nhất thế giới sẽ “xoay trục” sang xe máy, nhưng cho thấy hãng nhận thức rằng nếu muốn hiện thực hóa xã hội sử dụng hydro, họ cần áp dụng công nghệ này không chỉ cho ô tô mà cả xe hai bánh.
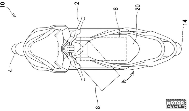
Điểm đáng chú ý trong bằng sáng chế là cách tiếp cận hoàn toàn khác với việc tiếp nhiên liệu truyền thống. Thay vì yêu cầu người dùng bơm khí hydro áp suất cao, Toyota đề xuất sử dụng các bình hydro nạp sẵn có thể tháo lắp nhanh. Người dùng chỉ cần ghé trạm, tháo bình gần cạn và lắp bình đầy vào là có thể tiếp tục hành trình, tương tự mô hình đổi pin trên xe điện.



Thiết kế phác thảo trong hồ sơ sáng chế khá quen thuộc: đó là mẫu Burgman chạy pin nhiên liệu hydro của Suzuki - Ảnh: AMCN
Thiết kế trong hồ sơ sáng chế gợi nhớ đến mẫu Burgman chạy hydro của Suzuki từng xuất hiện tại Triển lãm ô tô Tokyo 2011. Suzuki vốn cũng là hãng theo đuổi công nghệ hydro trong thời gian dài, nên việc hai bên hợp tác là điều hoàn toàn có thể. Hiện cả hai đều tham gia dự án HYSE (Hydrogen Small Engine) tại Nhật Bản nhằm tìm giải pháp ứng dụng động cơ đốt trong sử dụng hydro cho xe máy.
Một trong những thách thức lớn với xe máy dùng hydro là vị trí đặt pin nhiên liệu - thường nằm thấp trong khung xe. Cách bố trí này tốt cho trọng tâm và phân bổ khối lượng, nhưng lại gây khó khăn khi cần tháo lắp bình. Đây cũng là vấn đề tương tự trên các xe điện dùng pin có thể thay thế: nếu pin nằm sâu trong thân xe, việc tiếp cận sẽ rất bất tiện.

Chiếc xe máy của Toyota có thể trông như thế này - Ảnh dựng đồ họa do AI tạo
Khác với một số nguyên mẫu gần đây của Suzuki sử dụng động cơ đốt trong chạy hydro, Toyota lại tập trung vào công nghệ pin nhiên liệu. Hệ thống này tạo ra điện từ phản ứng giữa hydro và oxy, với sản phẩm thải duy nhất là nước, nhờ đó đạt hiệu suất cao hơn và sạch hơn do không sinh ra các khí thải như oxit nitơ.
Tuy nhiên, pin nhiên liệu đòi hỏi hydro có độ tinh khiết rất cao, và việc sử dụng các bình nạp sẵn cũng góp phần hạn chế nguy cơ nhiễm tạp chất.
Dù ý tưởng mang tính đột phá, khả năng Toyota thương mại hóa xe máy chạy hydro trong tương lai gần vẫn còn bỏ ngỏ, do hạ tầng tiếp nhiên liệu chưa phổ biến.
Tuy vậy, với tham vọng xây dựng “xã hội hydro”, không loại trừ khả năng trong dài hạn, pin nhiên liệu hydro sẽ trở thành nguồn năng lượng thay thế pin sạc trên xe điện.
Tối đa: 1500 ký tự
Hiện chưa có bình luận nào, hãy là người đầu tiên bình luận