
Bằng sáng chế xe máy mới nhất của Honda mô tả một hệ thống có thể tự động điều khiển xe tránh khỏi các phương tiện đang lao tới và có nguy cơ va chạm - Ảnh minh họa do AI tạo
Xe máy Honda tự động né va chạm như ô tô?
Honda vừa công bố một bằng sáng chế mới, hé lộ hướng đi tiếp theo của hãng trong việc đưa các công nghệ an toàn chủ động từ ô tô sang xe máy Honda. Theo đó, nhà sản xuất Nhật Bản đang nghiên cứu hệ thống tự động hỗ trợ đánh lái, kết hợp giám sát điểm mù nhằm giúp xe hai bánh chủ động tránh nguy cơ va chạm.
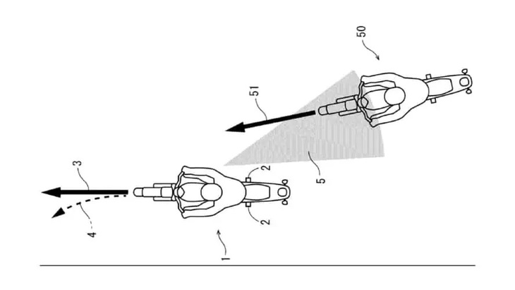
Theo mô tả trong bằng sáng chế, hệ thống sử dụng camera để theo dõi khu vực điểm mù phía sau. Khi phát hiện xe khác đang đến gần với nguy cơ xảy ra va chạm, hệ thống sẽ phát cảnh báo cho người lái. Trong trường hợp cần thiết, một bộ truyền động sẽ can thiệp trực tiếp vào tay lái, hỗ trợ xe đổi hướng để né tránh tình huống nguy hiểm.


Hình ảnh trong hồ sơ đăng ký bằng sáng chế của Honda minh họa cách hoạt động của công nghệ mới - Ảnh: WIPO
Do tính đặc thù của xe máy, hệ thống được thiết kế để đánh giá phản ứng thực tế của người lái. Nếu người lái đã có hành động như phanh hoặc đánh lái, hệ thống sẽ tăng cường hỗ trợ nhằm giúp xe né tránh nhanh hơn. Ngược lại, nếu người lái không có phản ứng, mức hỗ trợ đánh lái sẽ được tăng dần theo cách từ tốn, tránh gây giật tay lái đột ngột dẫn đến mất kiểm soát.
Xe máy tưởng đơn giản song thực tế lại phức tạp hơn ô tô
Ý tưởng trên được phát triển dựa trên công nghệ hỗ trợ đánh lái khẩn cấp vốn đã phổ biến trên ô tô.
Tuy nhiên, Honda thừa nhận xe máy có đặc tính vận hành phức tạp hơn nhiều, khi mọi chuyển động của tay lái đều ảnh hưởng trực tiếp đến khả năng cân bằng, góc nghiêng và sự ổn định của người điều khiển.
Một chiếc ô tô bốn bánh có thể thực hiện thao tác đánh lái gấp để tránh vật cản mà vẫn đảm bảo độ ổn định, khó xảy ra nguy cơ lật xe.
Ngược lại, với xe máy, việc hệ thống máy tính can thiệp đánh lái đột ngột có thể khiến xe mất cân bằng ngay lập tức, thậm chí làm người điều khiển bị hất văng xuống đường trước khi va chạm xảy ra.



Dù ý tưởng mang lại nhiều hứa hẹn về an toàn, không ít câu hỏi vẫn được đặt ra - Ảnh minh họa: AI
Dù Honda khẳng định lực hỗ trợ đánh lái sẽ được tăng dần theo lộ trình, trong những tình huống nguy cấp chỉ diễn ra trong tích tắc, ranh giới giữa “hỗ trợ an toàn” và “can thiệp nguy hiểm” là rất mong manh.
Ngoài ra, môi trường giao thông của xe máy thường phức tạp và khó dự đoán hơn nhiều so với ô tô.
Các yếu tố như mặt đường xuống cấp, ổ gà, cát sỏi hay những tình huống giao thông biến đổi liên tục trong từng khoảnh khắc đòi hỏi khả năng xử lý linh hoạt, điều mà các thuật toán hiện nay chưa chắc có thể đáp ứng một cách hoàn hảo.
Câu hỏi đặt ra là liệu một hệ thống tự động có đủ độ nhạy và chính xác để phân biệt giữa việc đánh lái né một phương tiện lớn và nguy cơ đưa xe lao xuống rãnh hoặc khu vực nguy hiểm bên lề đường hay không.
Ngay cả khi vượt qua được các rào cản kỹ thuật, nhiều ý kiến cho rằng việc trang bị hệ thống tránh va chạm chủ động quá sâu có thể làm thay đổi bản chất trải nghiệm lái xe máy - vốn đề cao sự kiểm soát trực tiếp và cảm giác thuần khiết của người điều khiển.
Honda không phải hãng duy nhất theo đuổi các công nghệ hỗ trợ người lái cho mô tô xe máy. Trước đó, nhiều nhà sản xuất lớn như BMW hay Ducati cũng đã đầu tư mạnh vào hệ thống radar và các tính năng an toàn điện tử.
Hiện tại, công nghệ tự động đánh lái của Honda mới chỉ dừng ở mức nghiên cứu và chưa rõ khả năng thương mại hóa. Trong trường hợp được đưa vào sản xuất, nhiều khả năng hệ thống này sẽ xuất hiện đầu tiên trên các mẫu mô tô cao cấp, thiên về du lịch đường dài như Gold Wing hoặc Africa Twin.
Tối đa: 1500 ký tự
Hiện chưa có bình luận nào, hãy là người đầu tiên bình luận