
Bản thiết kế của Honda cho thấy một mẫu xe máy điện cực kỳ cơ bản, dường như nhắm tới các thị trường nhạy cảm về giá như Ấn Độ và một số khu vực châu Phi, nơi hàng triệu người phụ thuộc vào những chiếc xe máy đi lại đơn giản làm phương tiện chính - Ảnh: AMCN
Trong bối cảnh nhiều hãng xe chạy đua phát triển các mẫu xe máy điện công nghệ cao, giá bán đắt đỏ, Honda dường như chọn một lối đi hoàn toàn khác. Bằng sáng chế mới được hãng đăng ký vừa bị lộ đã cho thấy một mẫu xe máy điện tối giản đến mức “cổ điển”, đặt mục tiêu phục vụ số đông người dùng thay vì phân khúc cao cấp.
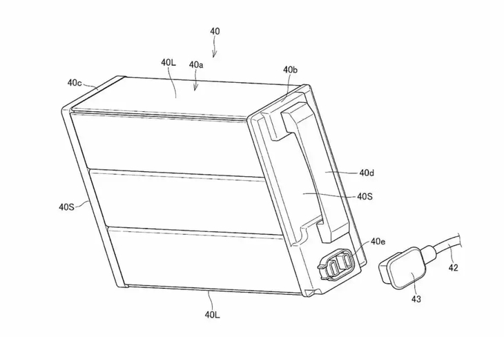
Theo bản thiết kế do chuyên trang AMCN phát hiện, mẫu xe này được Honda phát triển với triết lý cắt giảm tối đa chi phí. Xe sử dụng khung thép truyền thống thay vì khung nhôm, đi kèm các linh kiện giá rẻ và quen thuộc như phuộc sau đôi, phanh tang trống phía trước điều khiển bằng cáp và thân vỏ tối giản. Những trang bị điện tử phức tạp gần như không xuất hiện.
Ở vị trí vốn dành cho động cơ xăng xi lanh đơn dung tích nhỏ trên các mẫu xe phổ thông, Honda thay thế bằng một mô tơ điện gọn nhẹ cùng hai pin có thể tháo rời. Đây cũng chính là điểm đáng chú ý nhất của thiết kế.
Không giống nhiều mẫu xe điện hiện nay đặt pin cố định trong khung, mỗi viên pin của mẫu xe này được đặt trong một khung kim loại riêng, gắn hai bên thân xe. Cụm pin có thể xoay ra ngoài nhờ bản lề, cho phép người dùng dễ dàng rút pin ra mang vào nhà sạc. Khi lắp lại, pin được khóa chắc chắn và ăn khớp với phần ốp thân xe tạo hình giống bình xăng truyền thống.


Bộ pin có một điểm khác biệt quan trọng - Ảnh: AMCN
Honda vẫn giữ cách vận hành quen thuộc với chìa khóa cơ, bảng đồng hồ đơn giản chỉ hiển thị những thông tin cơ bản như tốc độ và mức pin. Xe không có bộ sạc tích hợp hay hệ thống kết nối phức tạp; pin được cắm trực tiếp bằng dây điện mềm, đúng với tinh thần “càng đơn giản càng tốt”.
Đáng chú ý, Honda không sử dụng chuẩn pin hoán đổi riêng vốn đang được hãng áp dụng trên các mẫu xe tay ga điện. Thay vào đó, hãng lựa chọn thiết kế pin mỏng và gọn hơn, cho thấy sự linh hoạt trong chiến lược điện hóa.

Hình dung về mẫu xe máy điện giá rẻ mới của Honda - Ảnh do AI tạo
Dù Honda chưa công bố thông tin về công nghệ pin, tầm hoạt động hay hiệu suất, nhưng mục tiêu của mẫu xe này khá rõ ràng: tạo ra một chiếc xe máy điện có chi phí thấp hơn cả động cơ xăng nhỏ mà nó thay thế. Nếu được thương mại hóa, đây có thể là lời giải cho bài toán xe điện giá rẻ tại các quốc gia đang phát triển.
Hiện chưa có xác nhận mẫu xe trong bằng sáng chế sẽ được đưa vào sản xuất, song mức độ hoàn thiện của thiết kế cho thấy Honda đã nghiêm túc cân nhắc hướng đi này. Và đôi khi, con đường nhanh nhất để phổ cập xe điện không nằm ở công nghệ phức tạp, mà ở sự giản đơn.
Tối đa: 1500 ký tự
Hiện chưa có bình luận nào, hãy là người đầu tiên bình luận